RM770PXBQ2 03 – OVEN DOORadmin2025-04-26T12:07:29+00:00RM770PXBQ2 03 – OVEN DOOR
Products
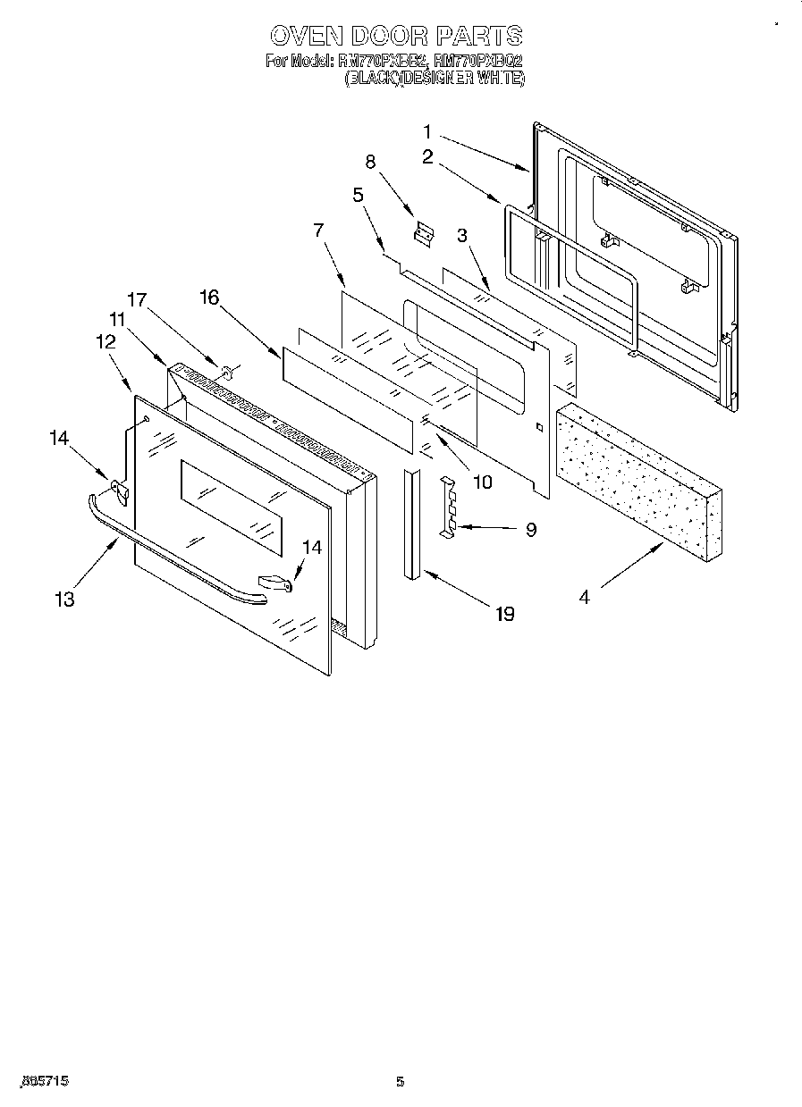
| Position | Product |
|---|
| 1 | Liner, Door |
| 1 | Screw, Black (2) |
| 2 | Seal, Window |
| 3 | Glass, Clear |
| 4 | Insulation, Door |
| 5 | Retainer, Insulation |
| 5 | Screw |
| 7 | Glass, Reflective |
| 8 | Latch, Strike |
| 9 | Retainer, Glass |
| 9 | Screw |
| 10 | Glass, Clear |
| 10 | Screw |
| 11 | Frame, Door (Black Model) |
| 11 | Frame, Door (White Model) |
| 12 | Glass, Door (White Model) |
| 12 | Glass, Door (Black Model) |
| 13 | Handle, Door (White Model) |
| 13 | Handle, Door (Black Model) |
| 14 | Spacer (White Model) |
| 14 | Spacer (Black Model) |
| 16 | Foil, Adhesive |
| 17 | Screw (2) |
| 17 | Bushing, Door Handle |
| 19 | Foil-Adhesive |