RM955PXLW2 07 – CONTROL PANELadmin2025-04-26T12:09:28+00:00RM955PXLW2 07 – CONTROL PANEL
Products
| Position | Product |
|---|
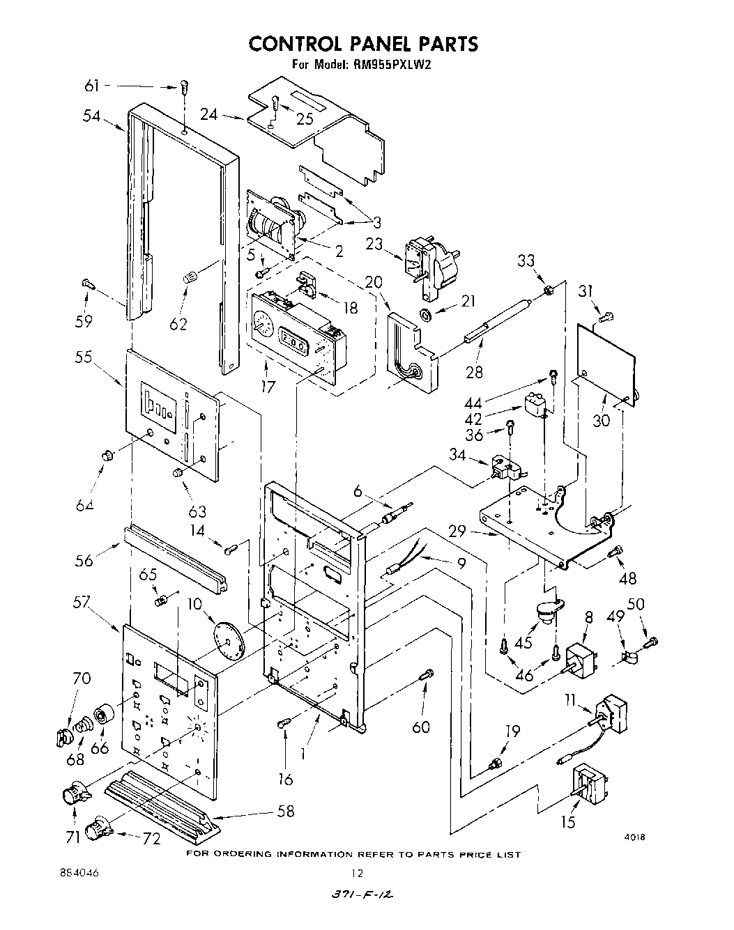
| 1 | Bracket, Control Mounting |
| 2 | Timer, Digital (Microwave) |
| 3 | panel, top (screw, 10a x 3/8 (3)) |
| 3 | WPL 311224 |
| 5 | Screw |
| 6 | Indicator Light |
| 8 | switch, infinite (4) |
| 9 | Light, Indicator (250V) (7) |
| 10 | Dial, Surface Units (4) |
| 11 | Thermostat (Lower Oven) |
| 14 | screw, 6-32 x 1/4 (2) |
| 15 | Switch, Selector |
| 16 | Screw, 8-32 x 3/16 (2) |
| 17 | Timer, Digital (Includes Illus. 29) |
| 18 | Motor, Timer |
| 19 | Nut, Aluminum (4) |
| 20 | Indicator, Information Control |
| 21 | Clip, Push-On (3) |
| 23 | Indicator, Temperature |
| 24 | Shield Assembly |
| 28 | Shaft, Potentiometer |
| 29 | Bracket, P.C. Board |
| 30 | Oven Thermostat |
| 31 | WPL 309080 |
| 33 | Palnut |
| 34 | Switch, Push-Start (Includes Illus. 11) |
| 36 | Screw |
| 42 | Relay, Latching (Alternate) |
| 42 | WP90767 Whirlpool Screw |
| 45 | WPL 310351 |
| 46 | Screw |
| 48 | Screw, |
| 49 | WP308605 Whirlpool Refrigerator Clamp |
| 50 | WP965173 Whirlpool Dishwasher Screw |
| 54 | Frame, Control Panel |
| 55 | Panel, Control (Upper) |
| 56 | Splice Panel |
| 57 | Control Panel, Glass |
| 57 | Support-Top Burner |
| 58 | Bottom Cap, Control Panel |
| 59 | NAMEPLATE |
| 60 | WP313808 Whirlpool Screw |
| 61 | Screw |
| 62 | Knob, Digital |
| 63 | Knob, Assembly (2) |
| 64 | Button, Push-to-Start |
| 65 | WPL 312808 |
| 66 | Bezel, Knob (4) |
| 68 | spring, bezel (4) |
| 70 | Knob, Control (4) |
| 71 | Knob, Thermostat |
| 72 | WP688805 Whirlpool Spring Clip |
| 72 | Knob, Selector |