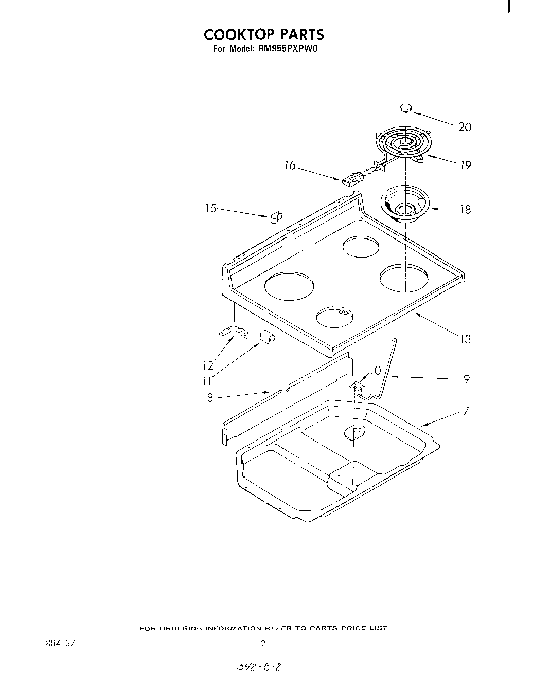
| 7 | Burner Box |
| 8 | Shield, Wiring |
| 9 | Rod, Cooktop |
| 10 | WP3390631 Whirlpool Screw |
| 10 | Retainer, Cooktop |
| 11 | Bracket, Cooktop (2) |
| 12 | Pin, Cooktop (2) |
| 12 | SCREW |
| 13 | Cooktop (Toast) |
| 13 | Cooktop (Almond) |
| 13 | Cooktop (White) |
| 13 | Cooktop (Harvest Gold) |
| 13 | Cooktop (Platinum) |
| 15 | WP308605 Whirlpool Refrigerator Clamp |
| 15 | WP965173 Whirlpool Dishwasher Screw |
| 16 | BURNER RECEPTACLE KIT |
| 16 | WP313808 Whirlpool Screw |
| 18 | WPW10196406 Whirlpool 6" Chrome Drip Bowl |
| 18 | DRIP BOWL 8" W/HOLE CHROME |
| 19 | WPY04100165 Whirlpool Surface Element |
| 19 | WP660533 Whirlpool Oven 8" Surface Element |
| 20 | Medallion (4) |