RM973PXLT0 10 – CABINET AND STIRRERadmin2025-04-26T12:08:25+00:00RM973PXLT0 10 – CABINET AND STIRRER
Products
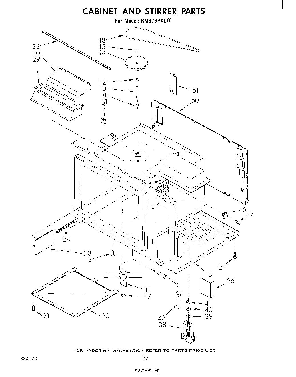
| Position | Product |
|---|
| 3 | Base, Cabinet (Not Serviceable) |
| 6 | Fuse, Thermal |
| 7 | Screw |
| 8 | Bushing, Stirrer |
| 10 | Shaft, Stirrer |
| 11 | Stirrer Blade |
| 12 | Washer, Nylon |
| 14 | Pulley, Stirrer Blade |
| 15 | ``E`` Ring |
| 17 | WP487939 Whirlpool Refrigerator Nut |
| 18 | Belt, Drive |
| 20 | Cover, Stirrer |
| 21 | Fastener (2) |
| 23 | Shield, Exhaust Probe |
| 24 | Cover, Rivet |
| 26 | Shield, Exhaust |
| 29 | Baffle, Air Exhaust |
| 30 | Air Deflector |
| 31 | Clip, Air Cover (3) |
| 33 | Seal, Light |
| 38 | Jack, Probe |
| 39 | Washer, Internal Lock |
| 40 | Washer |
| 41 | Nut |
| 43 | Temperature Probe & Plug |
| 50 | Cover, Rear |
| 50 | Screw, 10-16 x 1/2 (14) |
| 51 | WP308685 Whirlpool Microwave Screw |
| 51 | Cover, Light |