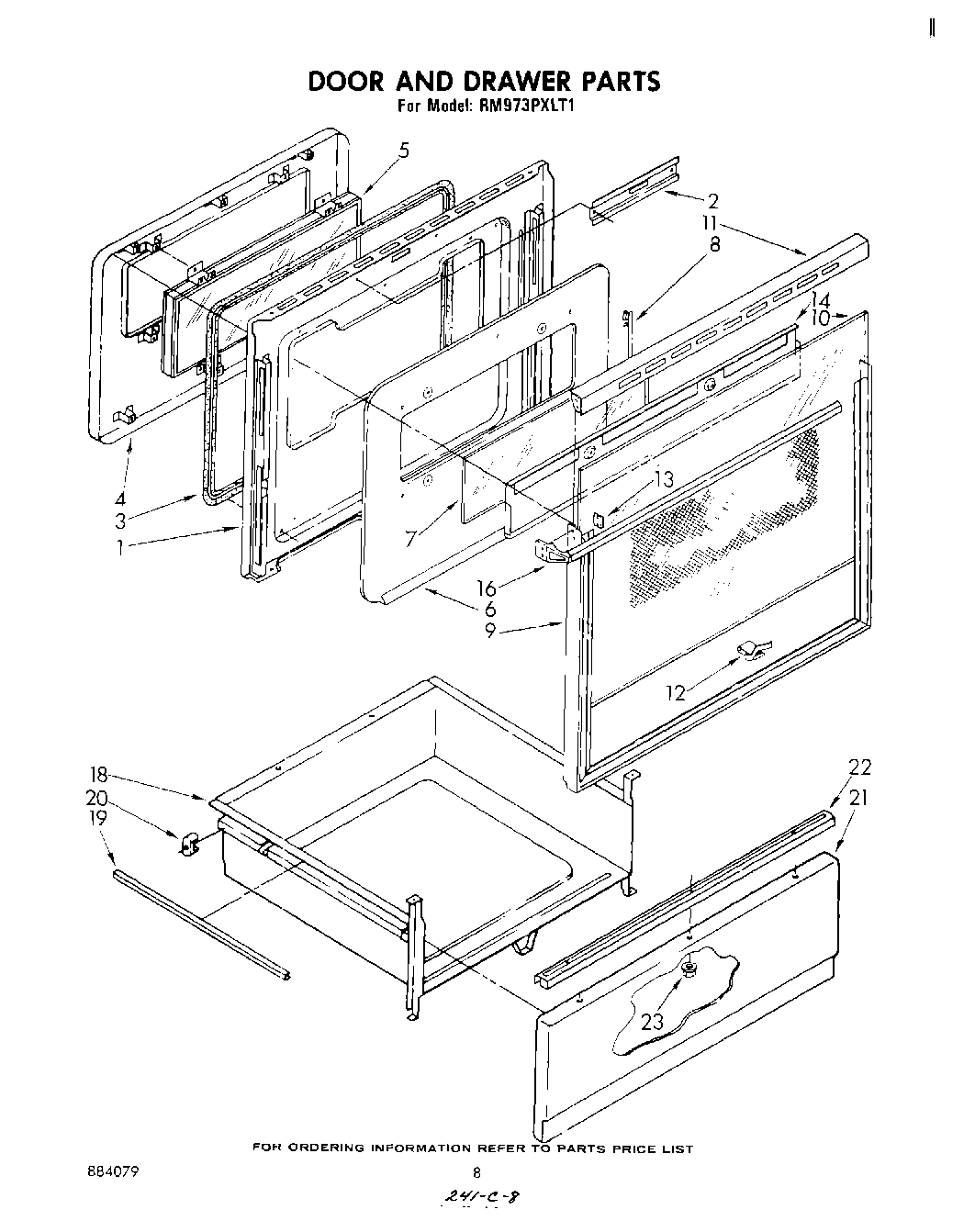
RM973PXLT1 05 – DOOR AND DRAWER