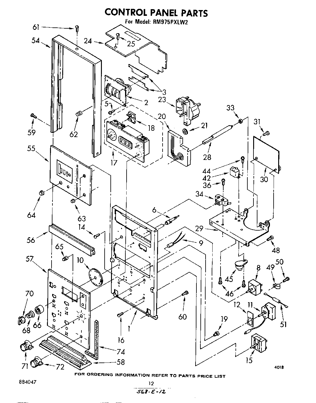
RM975PXLW2 07 – CONTROL PANEL