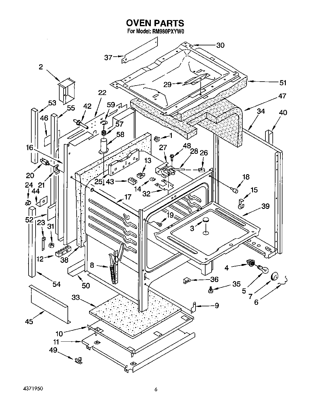
| 1 | Spacer, Body (8) |
| 2 | Shield, Rear Wall |
| 3 | Plug, Button |
| 4 | W10856866 Whirlpool Light Socket |
| 5 | RANGE ONLY 40W 120V APPL BULB |
| 6 | Retainer, Lens |
| 7 | Lens, Oven Light |
| 8 | Hinge, Oven Door |
| 9 | Cover, Hinge |
| 10 | Shield, Heat (Lower) |
| 11 | Shield, Insulation |
| 12 | WP8203546 Whirlpool Terminal Block |
| 13 | Switch, Latch |
| 14 | WPW10339879 Whirlpool Wire Tie |
| 15 | Clip, Thermo Bulb |
| 16 | Back, Main |
| 17 | Rod, Light |
| 18 | Bumper, Front (4) |
| 19 | Cover, Rod End |
| 20 | Switch, Door |
| 21 | Bracket, Door Switch |
| 22 | Shield, Rear Heat |
| 23 | Strap, Ground |
| 24 | Fastener, Cord |
| 25 | Cover, Flue |
| 26 | Knob, Latch |
| 27 | Latch, Door |
| 28 | Handle, Latch |
| 29 | Plate, Cover |
| 30 | Burner Box |
| 31 | Nut, Hex (6) |
| 32 | Shield, Latch |
| 33 | Insulation, Bottom |
| 34 | Panel, Side (Almond LH) |
| 34 | Panel, Side (White LH) |
| 34 | Panel, Side (White RH) |
| 34 | Panel, Side (Almond RH) |
| 35 | Screw, Leveler (4) |
| 36 | Support, Oven Bottom |
| 37 | Shield, Wire |
| 38 | Insulation, Oven Back |
| 39 | Bottom, Oven |
| 40 | Trim, Side (2) |
| 42 | Spacer, (2) |
| 43 | Shield, Latch |
| 44 | Brkt, Cable Mtg |
| 45 | Shield, Side (2) |
| 46 | Cover, Lower Access |
| 47 | Insulation, Oven Wrapper |
| 48 | Screw, Latch Knob |
| 49 | Glide, Drawer |
| 50 | Bracket, Anti-Tip |
| 51 | Insulation, Ov Top |
| 52 | Shield, Wire |
| 53 | Tube, Ext. LH |
| 54 | Tube, Post LH |
| 55 | Tube, Post RH |
| 57 | Filter |
| 58 | Tube, Oven Vent |
| 59 | Retainer, Filter |