RM988PXVW3 06 – UPPER CHASSISadmin2025-04-26T12:07:31+00:00RM988PXVW3 06 – UPPER CHASSIS
Products
| Position | Product |
|---|
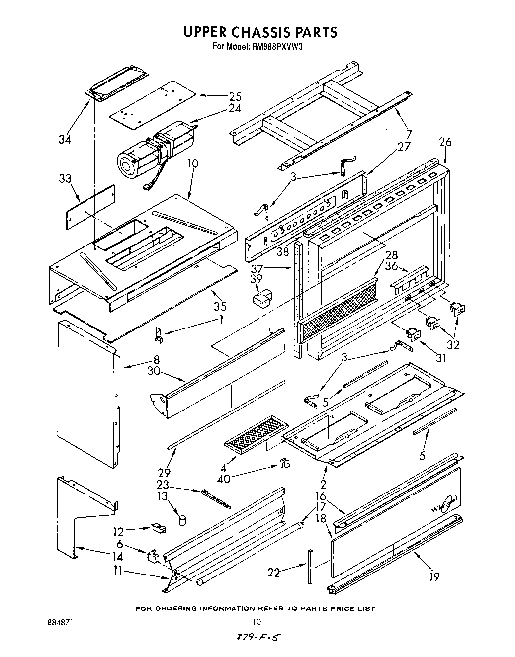
| 1 | Bracket, Stop R.H. |
| 1 | Bracket, Stop L.H. |
| 2 | Panel, Bottom |
| 2 | Seal, Foam |
| 2 | Channel, Rubber (4) |
| 4 | Filter, Mesh (2) |
| 5 | Edge, Protector (2) |
| 6 | Socket, Assembly L.H. |
| 6 | Socket, Assembly R.H. |
| 7 | Support, Frame |
| 8 | WPL 3171913 |
| 8 | Side Panel L.H. (Seal, Foam (2)) |
| 8 | Side Panel, L.H. (Seal, Foam (2) Side Panel, R.H.) |
| 8 | Side Panel, |
| 8 | Side Panel, L.H. (White) |
| 8 | Side Panel, L.H. (White) |
| 8 | Side Panel L.H. (Platinum) |
| 8 | Side Panel L.H. (Toast) |
| 8 | Side Panel L.H. (Toast) |
| 8 | Side Panel L.H. (Platinum) |
| 10 | Top Panel |
| 11 | Panel, Backguard |
| 12 | WP965173 Whirlpool Dishwasher Screw |
| 12 | Socket, Flourscent |
| 13 | Starter, Lamp |
| 14 | SCREW |
| 14 | End Trim L.H. (Toast) |
| 14 | End Trim R.H. (Almond) |
| 14 | End Trim R.H. (Almond) |
| 14 | End Trim R.H. (Platinum) |
| 14 | End Trim R.H. (Toast) |
| 14 | End Trim R.H. (White) |
| 14 | Screw (10-12 x .875) |
| 14 | End Trim R.H. (Platinum) |
| 14 | end trim R.H. (almond) |
| 16 | WPL 313320 |
| 16 | WP488627 Whirlpool Refrigerator Screw |
| 17 | WP95292 Whirlpool Fluorescent Light Bulb |
| 18 | WPL 313322 |
| 19 | WPL 313321 |
| 19 | WP90767 Whirlpool Screw |
| 22 | WPL 313319 |
| 23 | WPW10339879 Whirlpool Wire Tie |
| 24 | Blower, Exhaust |
| 25 | Cover, Access |
| 25 | Nut (6) |
| 26 | WPL 3149557 |
| 27 | Washer (2) |
| 27 | Screw |
| 27 | Panel, Vent Door |
| 27 | Screw, Schoulder (2) |
| 27 | WPL 3147755 |
| 27 | WPL 3147764 |
| 27 | WPL 3147858 |
| 28 | WPL 3147525 |
| 28 | WPL 3147607 |
| 29 | WPL 3149007 |
| 29 | WP313808 Whirlpool Screw |
| 30 | WPL 3170269 |
| 31 | WP3147265 Whirlpool Rocker Switch |
| 32 | WP4314961 Whirlpool Lite Switch |
| 33 | WPL 3147726 |
| 34 | WPL 3147843 |
| 35 | WPL 3147250 |
| 35 | WPL 3147590 |
| 35 | WP488729 Whirlpool Refrigerator Door Screw |
| 36 | WPL 3148158 |
| 37 | WPL 3147595 |
| 38 | WPL 3147596 |
| 39 | WPL 3149016 |
| 40 | Clip |