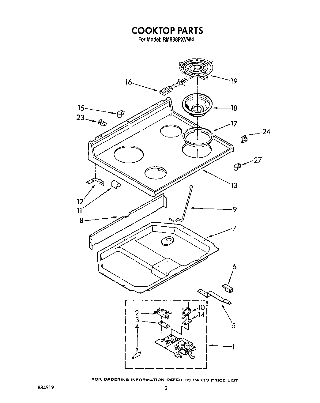
RM988PXVW4 02 – COOKTOP