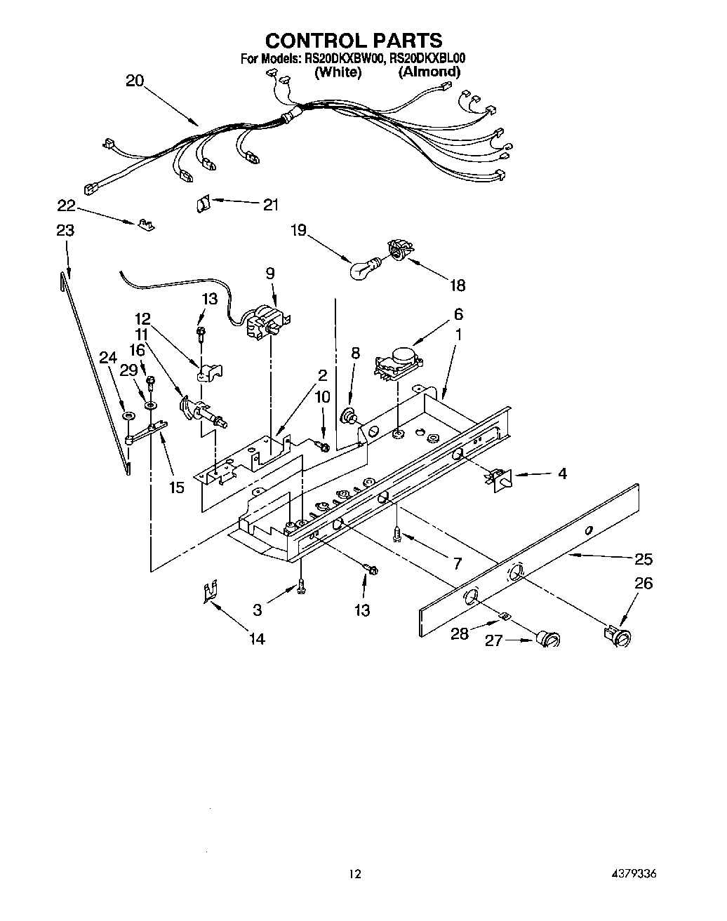
RS20DKXBL00 07 – CONTROL