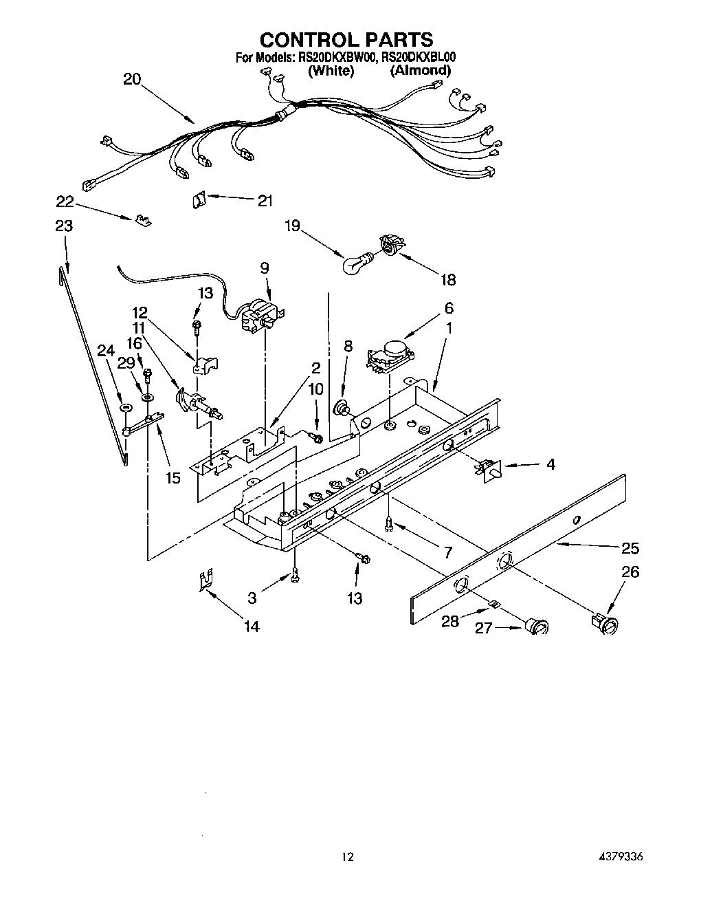
RS20DKXBW00 07 – CONTROL