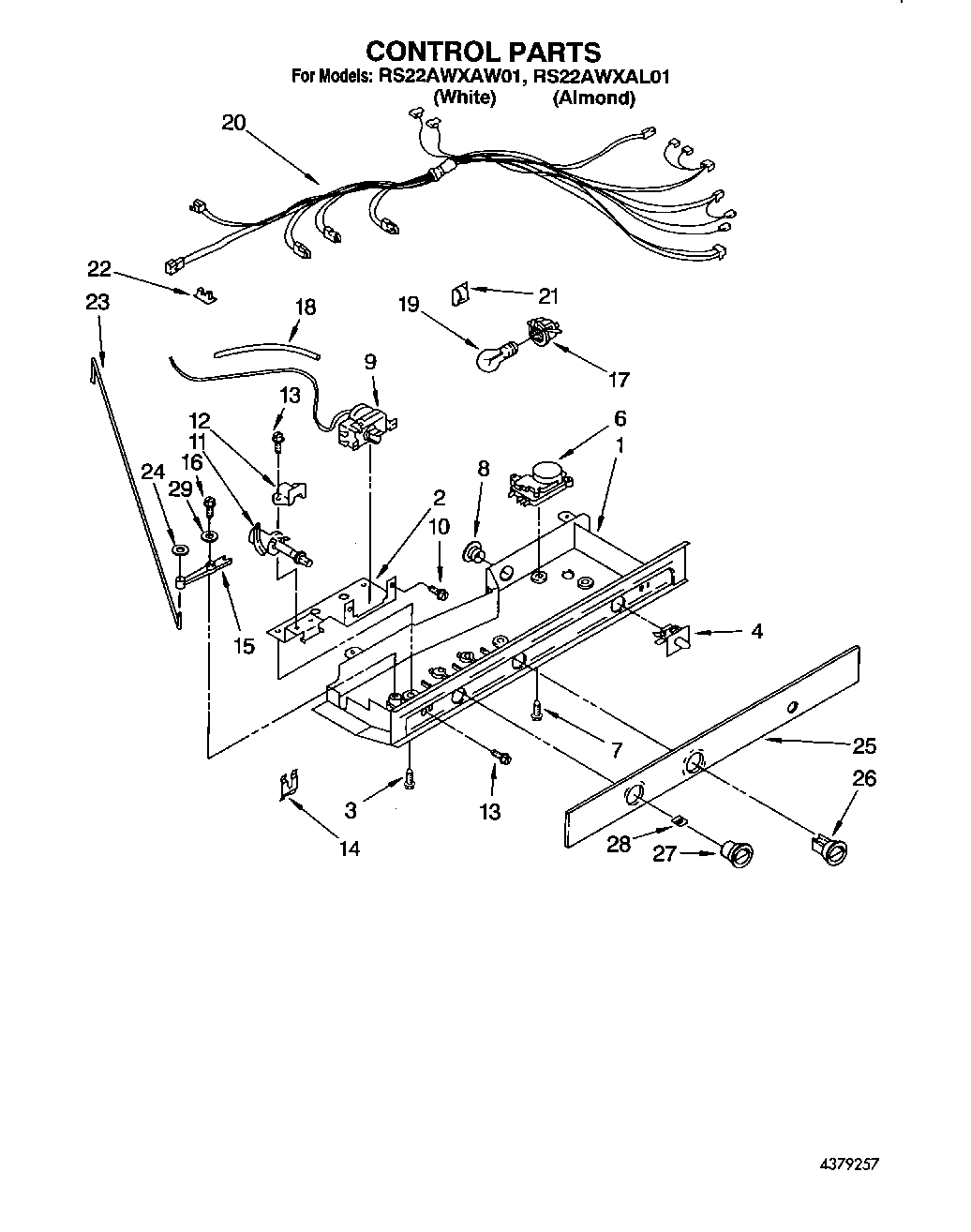
RS22AWXAL01 11 – CONTROL