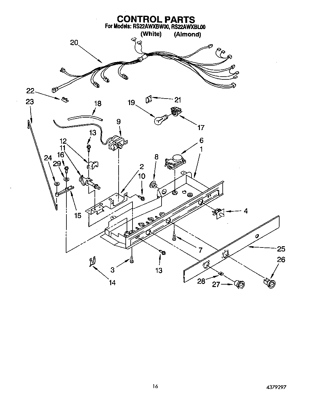
RS22AWXBL00 11 – CONTROL