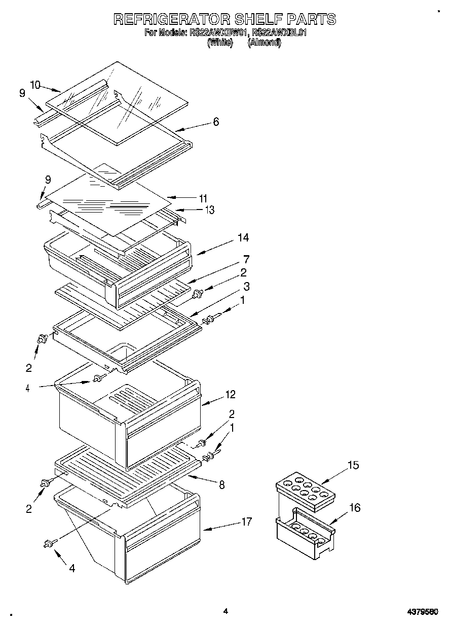
RS22AWXBL01 03 – REFRIGERATOR SHELF