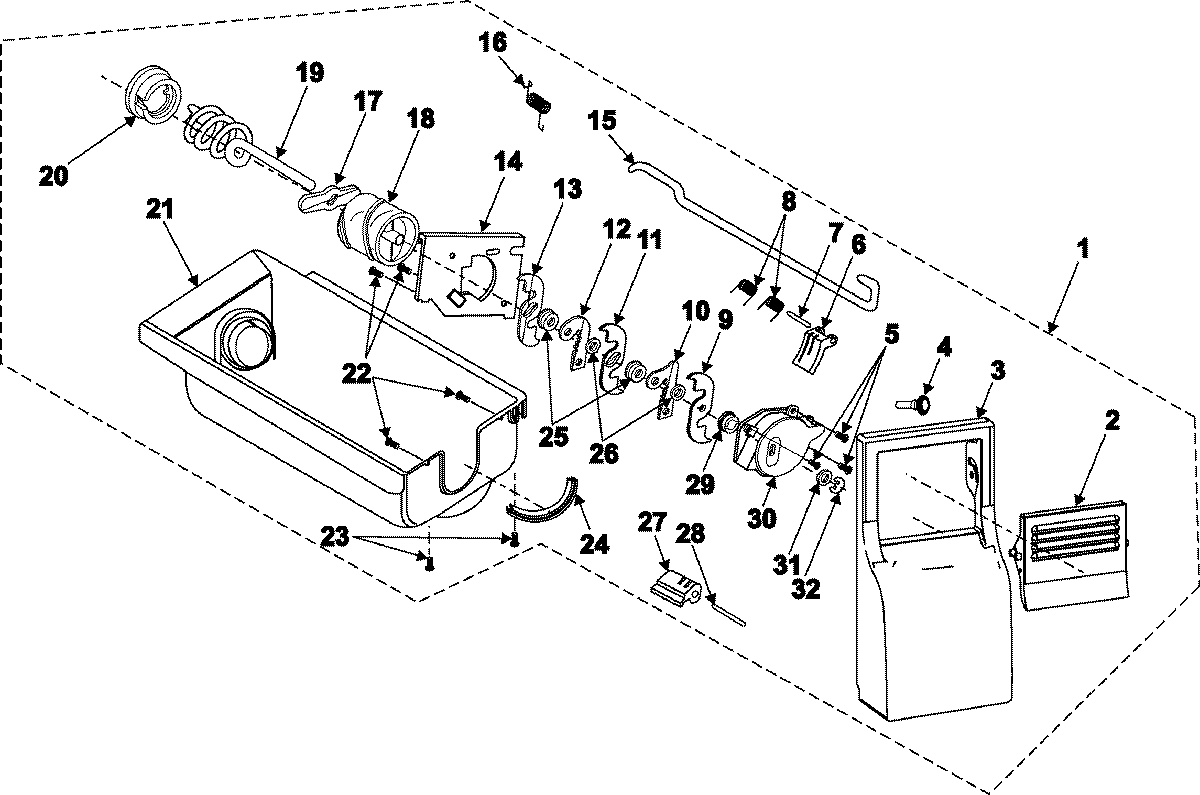
RS2555BB 07 – ICE BINadmin2025-04-26T08:53:57+00:00RS2555BB 07 – ICE BIN ProductsPositionProduct1MAY DA97-00685N2MAY DA63-02236A3MAY DA63-00777E4MAY DA63-40167A5MAY 6001-0000336MAY DA71-70003A8MAY DA61-20124A9MAY DA31-20120D10MAY DA31-20121B11MAY DA31-20120E12MAY DA31-20122B13MAY DA31-20120F14MAY DA70-00394A16MAY DA61-20139A18MAY DA31-20009A19MAY DA65-00023A21MAY DA63-00775D22MAY 6002-00021523MAY 6002-00047124MAY DA72-60315A25MAY DA72-60314A26MAY DA72-60313A27MAY DA71-20231A29MAY DA60-30108A30MAY DA63-10016A31MAY DA60-40116A32SEE NOTE GROUND WIRE, GREEN