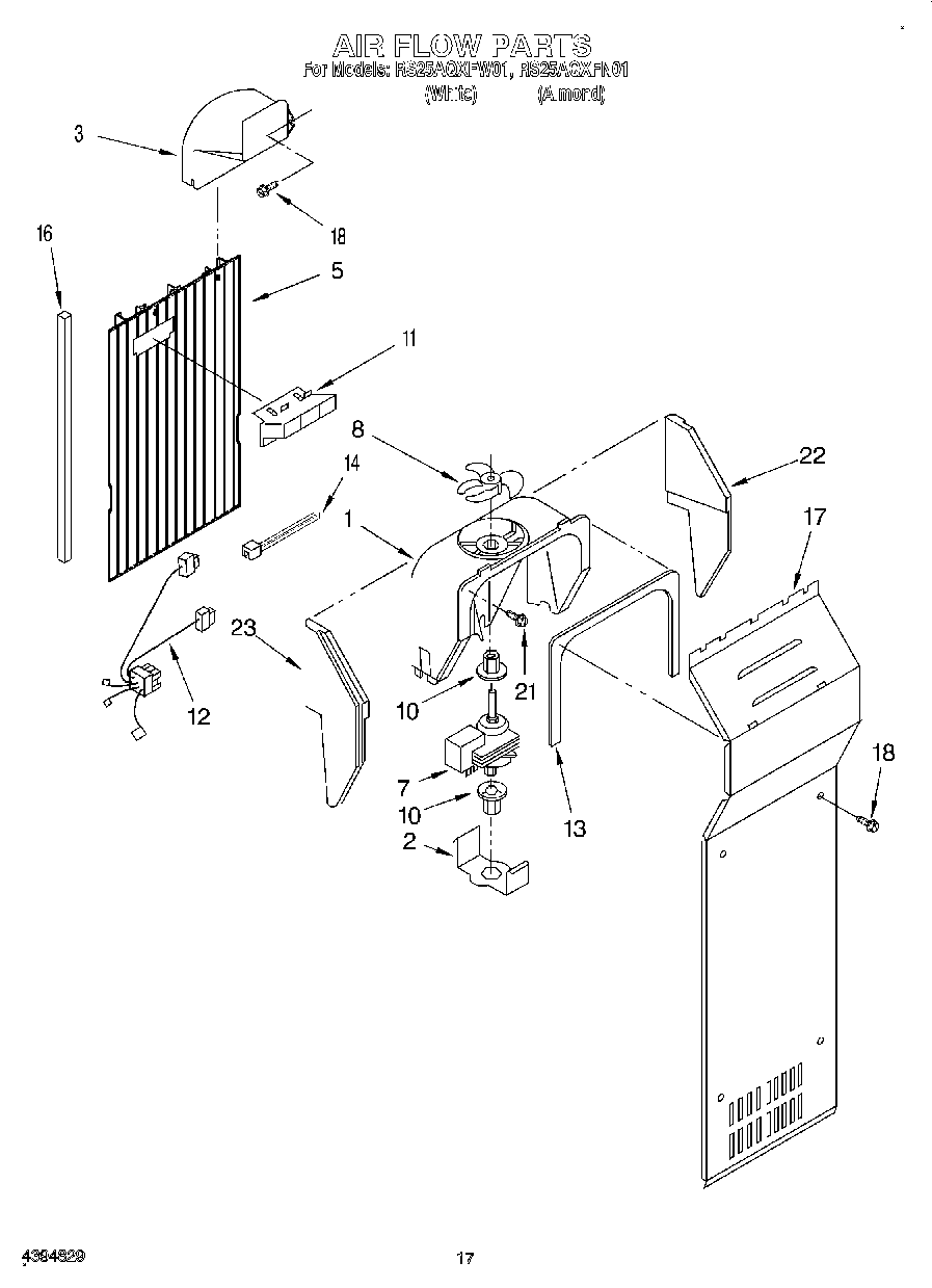
RS25AQXFN01 10 – AIR FLOW