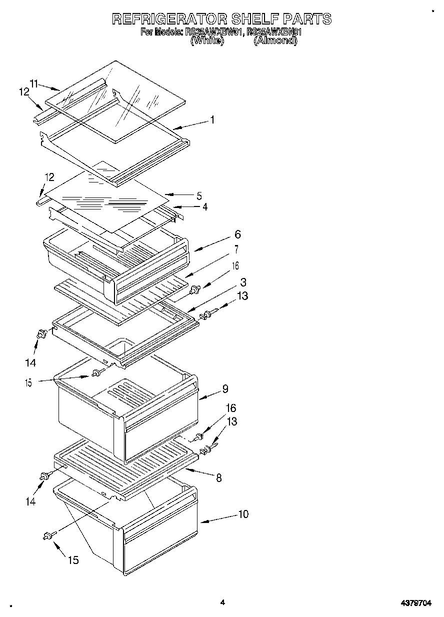
RS25AWXBL01 03 – REFRIGERATOR SHELFadmin2025-04-26T12:49:26+00:00RS25AWXBL01 03 – REFRIGERATOR SHELF ProductsPositionProduct1Shelf, Cantilever (3)3WP1126289 Whirlpool Refrigerator Cover4Shelf, Cantilever (Snack Bin)5Glass (Snack Bin)6Snack Bin7Glass, Crisper Cover8WP2148298 Whirlpool Refrigerator Deli Drawer Cover Top Pan9WP2148279 Whirlpool Refrigerator Crisper Pan10Pan, Meat11Glass (3)12Retainer14Stud (2)15WP2149540 Whirlpool Shelf Support164388538 Whirlpool Refrigerator Stud Shelf Kit (White)