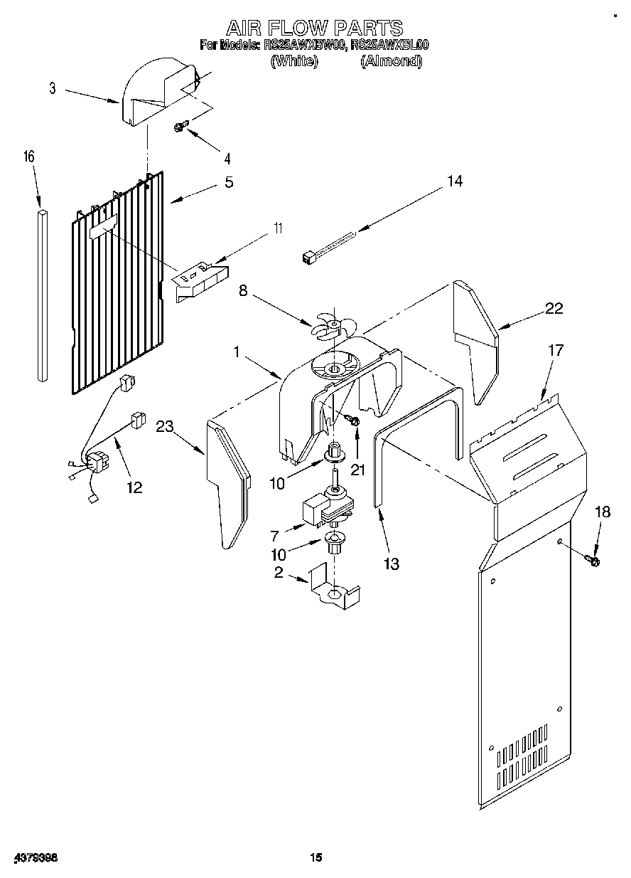
RS25AWXBW00 10 – AIR FLOW