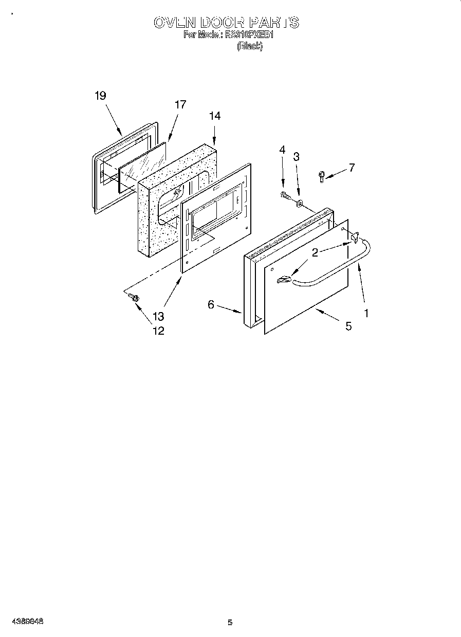
| 1 | Handle, Oven Door (Black) |
| 2 | Endcap, Handle (2) (Black) |
| 3 | Spacer, Handle (2) |
| 4 | Screw, Handle (4) |
| 5 | Glass, Door Front |
| 6 | Frame, Oven Door |
| 7 | Screw, Trim (6) (Black) |
| 12 | Screw, Liner |
| 13 | Retainer, Insulation |
| 14 | Insulation, Door |
| 17 | Glass, Inner |
| 19 | Liner, Door |