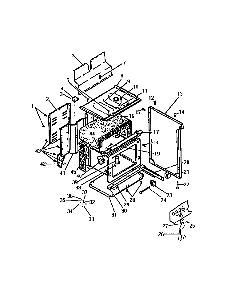
RS35BAL1 16 – OVEN LINER, SIDE PANELSadmin2025-04-26T08:43:50+00:00RS35BAL1 16 – OVEN LINER, SIDE PANELS ProductsPositionProduct2WCI 80157503WCI 80086574WCI 80030756WCI 80157388WCI 80125429WCI 800307911WCI 800331612SCREWS (2)13APANEL, LH SIDE, ALMOND13PANEL, RH SIDE, ALMOND14BUMPERS (4)16WASHERS (2)17WCI 801109218WCI 801594820RAIL, RH DRAWER20ARAIL, LH DRAWER21SPACERS (2)22WCI 800529923GUIDES (2)24SCREWS (2)27WCI 801586230WCI 800287231WCI 801648232WASHER (6)33BLOCK34SCREWS (2)35WCI 800314636SCREW, GROUND WIRE37WCI 800314838SCREWS (2)39WCI 801254140WCI 800285441WCI 801574942GUSSETS, RH42AGUSSETS, LH43SCREWS (2)44SCREW