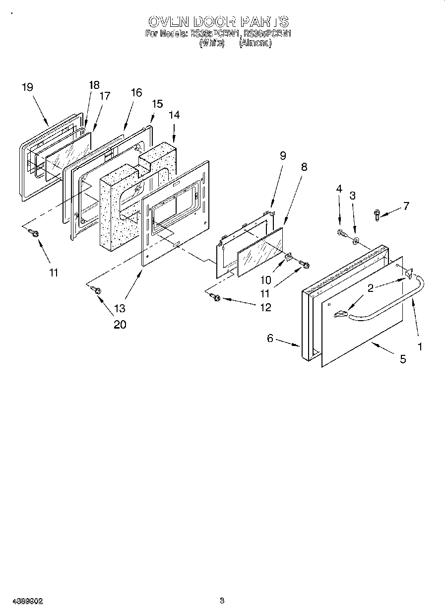
RS385PCBN1 02 – OVEN DOORadmin2025-04-26T12:49:21+00:00RS385PCBN1 02 – OVEN DOOR
Products
| Position | Product |
|---|
| 1 | Handle, Oven Door (Almond) |
| 1 | Handle, Oven Door (White) |
| 2 | Endcap, Handle (2) (White) |
| 2 | Endcap, Handle (Almond) |
| 3 | Spacer, Handle (2) (Black) |
| 3 | Spacer, Handle (2) (Almond) |
| 4 | Screw, Handle (2) |
| 5 | Glass, Door Front |
| 5 | Glass, Outer Door (Almond) |
| 6 | Frame, Oven Door (Almond) |
| 6 | Frame, Oven Door (White) |
| 7 | Screw, Trim (6) (Black) |
| 8 | Glass, Mid Door |
| 9 | Plate, Glass Mtg. |
| 10 | Retainer, Glass (2) |
| 11 | Screw, Retainer |
| 12 | Screw, Plate (6) |
| 13 | Retainer, Insulation |
| 14 | Insulation, Door |
| 15 | Liner, Oven Door |
| 16 | Gasket, Oven Door |
| 17 | Glass, Inner |
| 18 | Seal, Inner Glass |
| 19 | Plug, Oven Door |
| 20 | WP308685 Whirlpool Microwave Screw |