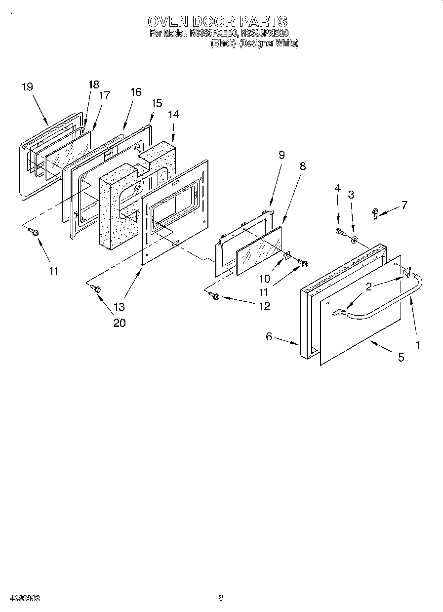
RS386PXEQ0 03 – OVEN DOOR