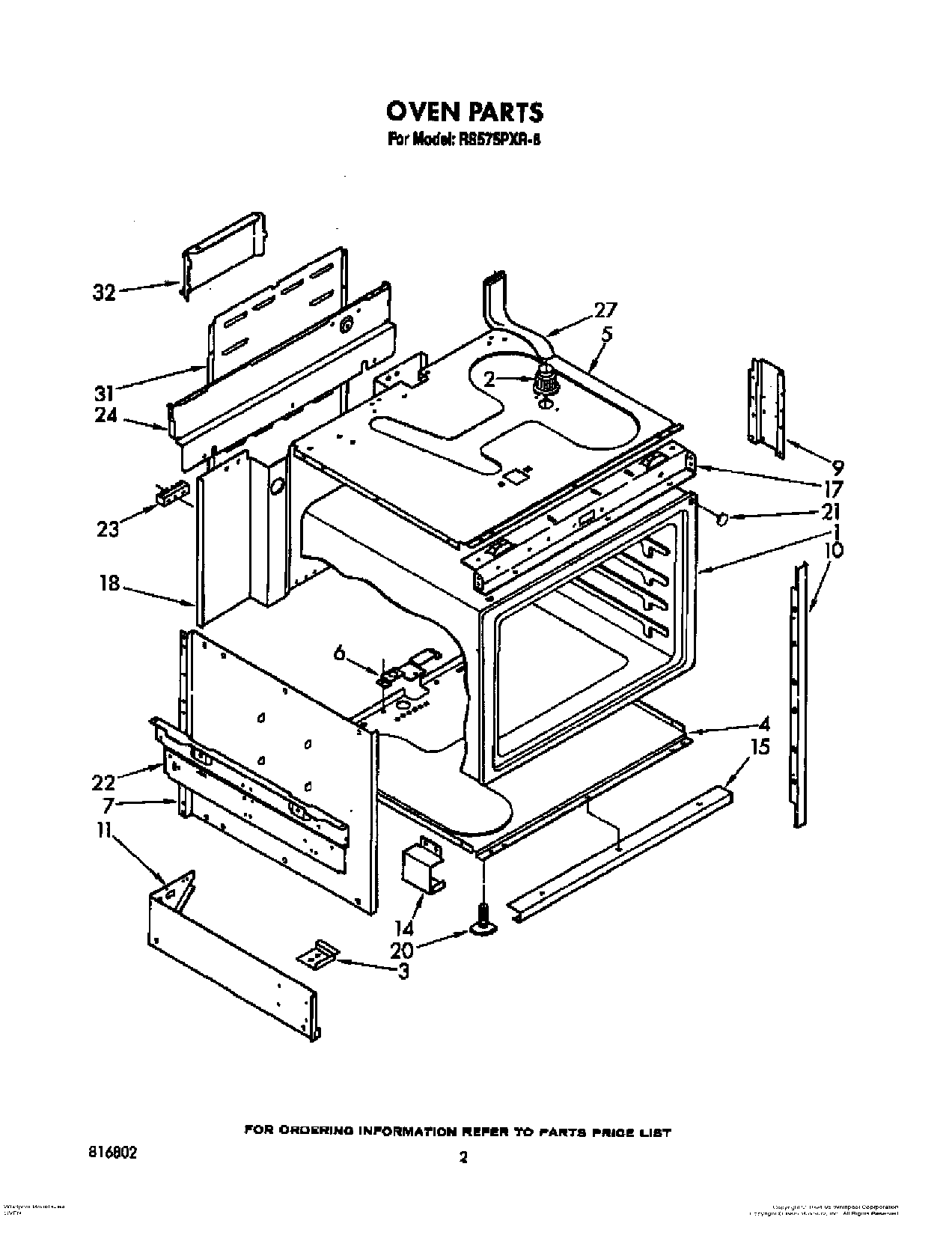
| 1 | Oven, Self Clean |
| 2 | Vent Tube |
| 2 | Screw, 10-24 x 3/8 (2) |
| 3 | Bracket, Anti-Tip |
| 4 | Shield, Bottom Insulation |
| 5 | Retainer, Insulation (Top) |
| 6 | Bracket, Conduit |
| 7 | Retainer, Insulation Side (2) |
| 9 | Support, Front (2) |
| 10 | Trim, Oven (Front) (2) |
| 11 | Side Panel (Lower) (Right Side) |
| 11 | Side Panel (Lower) (Left Side) |
| 14 | Shield, Toe (2) |
| 15 | Channel, Oven Support (Lower) |
| 17 | Bracket, Cooktop |
| 18 | Screw,10-24 x 1/2 |
| 18 | Back, Range (Lower) |
| 20 | Leg Leveler (4) |
| 21 | Button, Plug |
| 22 | Panel Side, Upper (2) |
| 23 | Hex Nut, 10-32 (6) |
| 23 | WP8203546 Whirlpool Terminal Block |
| 23 | WPL 834649 |
| 24 | Back, Range (Upper) |
| 27 | Tube, Oven Vent (Upper) |
| 31 | Screw, 10-24 x 1/2 (3) |
| 31 | WPL 816109 |
| 31 | Washer (3) |
| 32 | Deflector, Air |