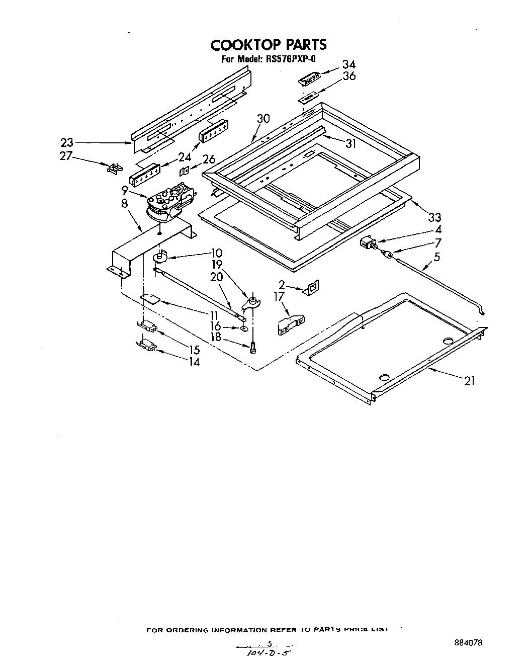
RS576PXP0 04 – COOKTOP