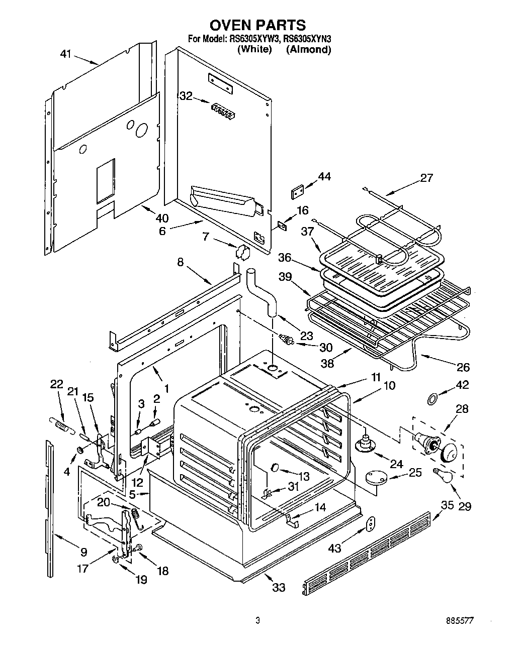
| 1 | Frame, Front |
| 2 | Pin, Hinge Ear (2) |
| 3 | Snubber, Door (2) |
| 4 | Pushnut (2) |
| 5 | Insulation Tray |
| 6 | Side Wrapper R.H. |
| 6 | Side Wrapper L.H. |
| 7 | Support, Side Wrapper (4) |
| 8 | Baffle, Top Insulation |
| 9 | Side Trim (Left Side) |
| 9 | Side Trim (Right Side) |
| 10 | Screw (3) |
| 10 | Oven (30`` Continuous Clean) |
| 11 | Heat Seal |
| 12 | Bracket, Oven Mounting (2) |
| 13 | Button, Plug |
| 14 | 98005642 Whirlpool Clip |
| 15 | Hinge, Ear (Right Side) |
| 15 | Hinge, Ear (Left Side) |
| 16 | WP308544 Whirlpool Screw |
| 16 | Plate, Side Panel (2) |
| 17 | Channel, Arm (2) |
| 18 | WP307986 Whirlpool Hinge Pin |
| 19 | Retainer Ring (2) |
| 20 | Spring, Door Stop (2) |
| 21 | WP308125 Whirlpool Microwave Range/Cooktop Anchor |
| 22 | Spring, Oven Door (2) |
| 23 | Tube, Vent Extension |
| 24 | Eliminator, Smoke |
| 24 | SCREW |
| 25 | WPL 310662 |
| 26 | ELMNT-BAKE |
| 27 | WP660579 Whirlpool Range Wall Oven Broil Element, 3000W, 240V |
| 27 | Screw (2) |
| 28 | Screw (10-12 x .875) |
| 28 | W11594027 Whirlpool Range Oven Light Socket |
| 29 | RANGE ONLY 40W 120V APPL BULB |
| 30 | Switch, Door |
| 31 | WPL 3169107 |
| 32 | WP112432 Whirlpool Nut Assembly |
| 32 | WP8203546 Whirlpool Terminal Block |
| 33 | Cover, Bottom |
| 35 | Grill, Bottom (Screw (3)) |
| 35 | Grill, Bottom |
| 37 | 4396923 Whirlpool Broil Pan Set Gray Porcelain |
| 38 | WPL 308173 |
| 39 | WPL 308172 |
| 40 | Panel, Back |
| 41 | WP488729 Whirlpool Refrigerator Door Screw |
| 41 | Cover, Rear |
| 42 | WP3184533 Whirlpool Range Light Lens Gasket |
| 43 | Plate, Cover |
| 44 | Insulation, Wrap |
| 44 | Insulation, Back |
| 44 | WPL 3183005 |