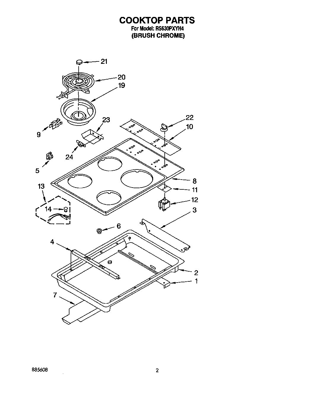
| 1 | Support, Box |
| 2 | Box, Burner |
| 3 | Shield, Switch |
| 4 | Screw, 10-32 x 1/2 |
| 4 | Support, Cooktop |
| 6 | WPL 258109 |
| 7 | Cover, Top Rear |
| 8 | WP488729 Whirlpool Refrigerator Door Screw |
| 8 | Cooktop (Brushed Chrome) |
| 8 | 814103 Whirlpool Clip |
| 9 | WP4332752 Whirlpool Clip |
| 9 | WP313808 Whirlpool Screw |
| 10 | Panel, Control |
| 11 | 3183956 Whirlpool Oven Seal Switch |
| 12 | Switch, Infinite (Use W/6`` Surface Unit (2)) |
| 12 | WP486579 Whirlpool Air Conditioner Screw |
| 12 | WP3148966 Whirlpool Infinite Switch |
| 13 | Indicator, Light (Includes No. 14) |
| 14 | Lens, Light |
| 19 | WPW10196406 Whirlpool 6" Chrome Drip Bowl |
| 19 | DRIP BOWL 8" W/HOLE CHROME |
| 20 | WP660533 Whirlpool Oven 8" Surface Element |
| 20 | WP660532 Whirlpool Oven Surface Element |
| 21 | Medallion (4) |
| 22 | Knob, Control (4) |
| 23 | Bracket, Sensor |
| 24 | Thermostat |