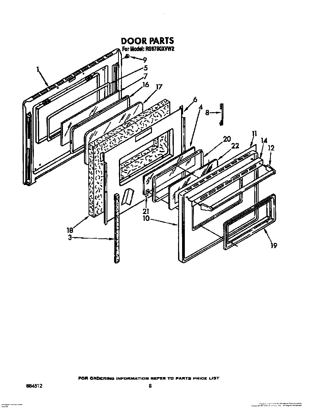
RS6750XVN2 06 – DOOR