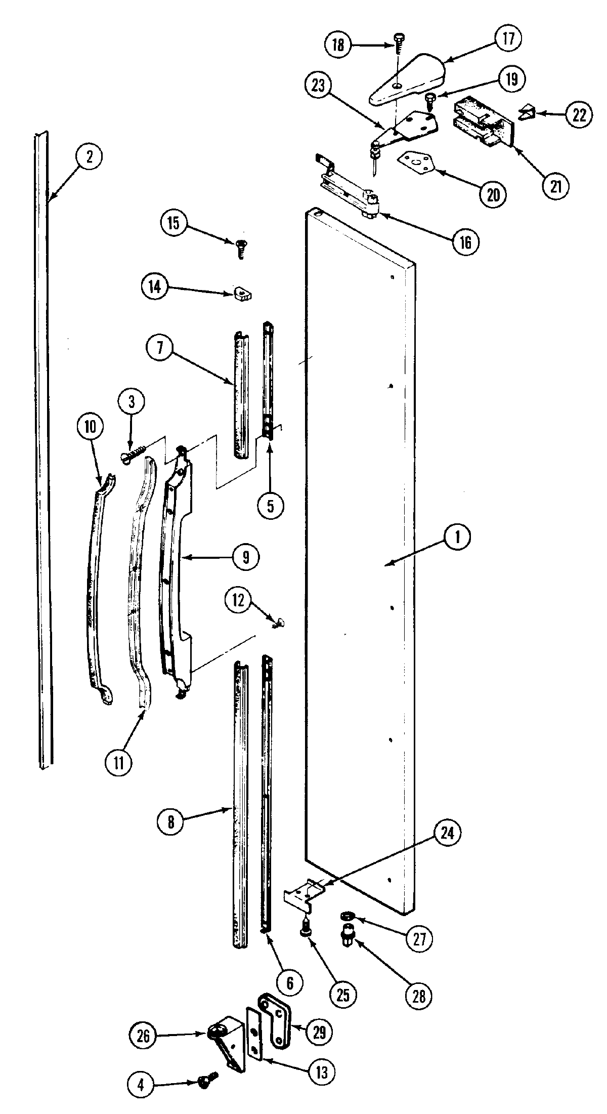
RSD2200DAE 03 – FREEZER OUTER DOORadmin2025-04-26T08:54:19+00:00RSD2200DAE 03 – FREEZER OUTER DOOR ProductsPositionProduct1MAY 72341-100-WW2MAY 69265-43MAY 65275-804MAY 65275-515MAY 67926-16MAY 67926-27MAY 67932-88MAY 67932-99MAY 67922-110MAY 67924-211MAY 67920-112MAY 65275-4413MAY 69510-114MAY 67928-215MAY 414004-3516MAY 414004-116MAY 69258-117MAY 69518-418MAY 408062-119MAY 65275-5220MAY 65031-121MAY 52613-121MAY 70049-122MAY 69261-123MAY 53709-2224MAY 69256-225MAY 65275-4826MAY 69516-22767483-3 Whirlpool Refrigerator Door Spacer Washer28MAY 69845-129MAY 67874-129MAY 65275-59