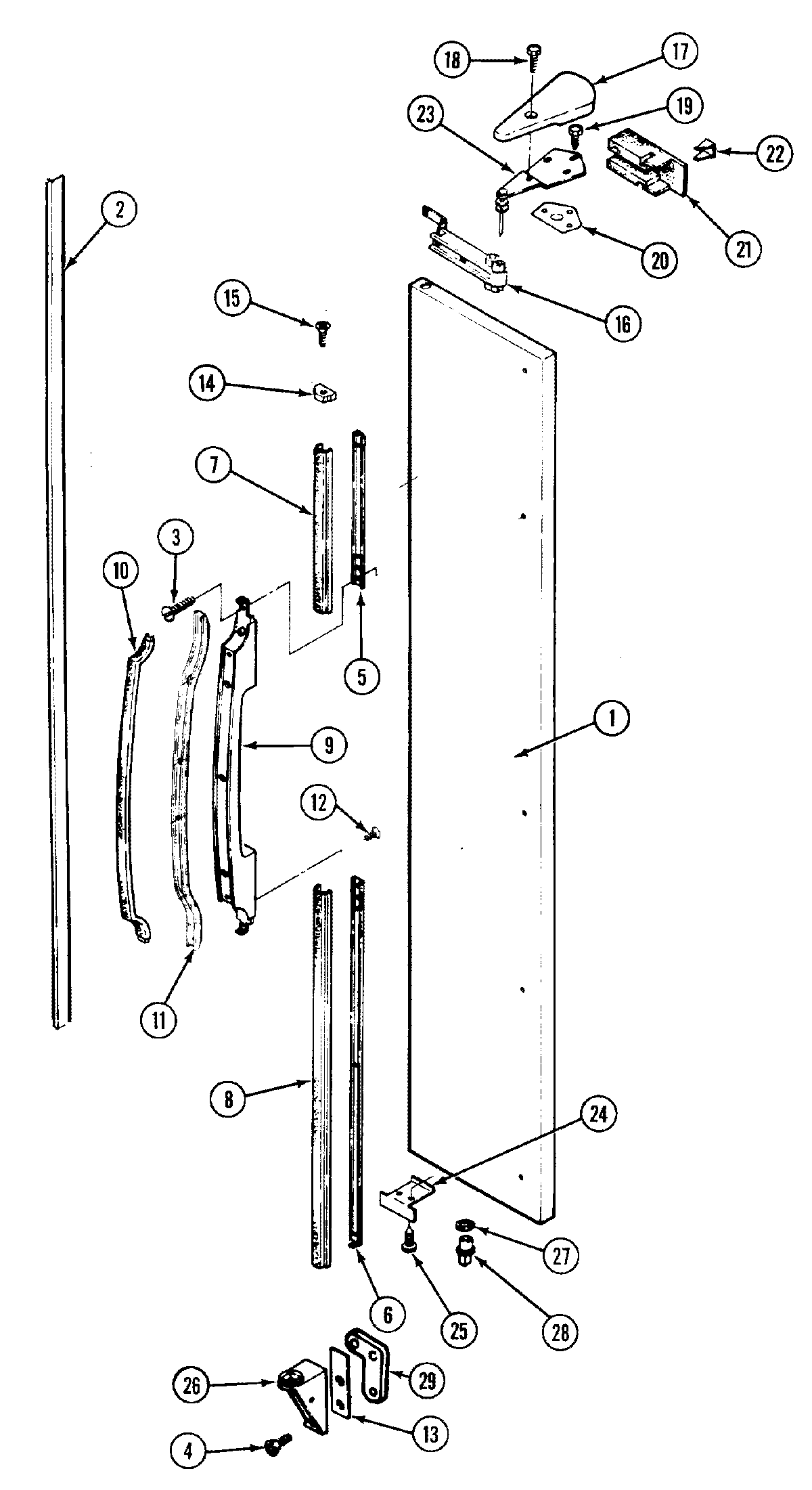
RSD2400DAM 03 – FREEZER DOOR (OUTER)admin2025-04-26T08:54:40+00:00RSD2400DAM 03 – FREEZER DOOR (OUTER) ProductsPositionProduct1MAY 72341-101-AM1MAY 495034-9002MAY 69265-43MAY 65275-804MAY 65275-515MAY 67926-16MAY 67926-27MAY 67932-128MAY 67932-139MAY 67922-110MAY 67924-311MAY 67920-112MAY 65275-4413MAY 69510-114MAY 67928-215MAY 414004-3516MAY 69258-116MAY 414004-117MAY 69518-318MAY 408062-119MAY 65275-5220MAY 65031-121MAY 52613-121MAY 70049-122MAY 69261-123MAY 53709-2224MAY 69256-225MAY 65275-4826MAY 69516-22767483-3 Whirlpool Refrigerator Door Spacer Washer28MAY 69845-129MAY 67874-129MAY 65275-59