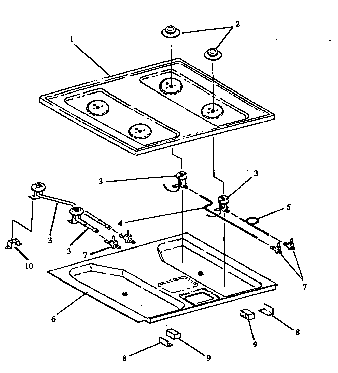
RST3079310 06 – SEALED BURNERadmin2025-04-26T08:49:33+00:00RST3079310 06 – SEALED BURNER ProductsPositionProductNIMAY Y62840NIMAY Y0302511NIMAY Y0302478NIMAY Y0302405NIMAY Y0301354NIMAY Y0041811NIMAY 0302406NIMAY 0302620NIMAY 0302621NIMAY 302619NIMAY Y0302064NIMAY Y0303219NIMAY Y060059CGNIMAY Y3024762WPY0307210 Whirlpool Burner Cap3MAY Y03030423MAY Y03013503MAY 03030413MAY 03025073MAY 03030434MAY Y03024814MAY Y03025055MAY 03024805TUBING, VALVE TO FRONT BURNER6MAY 302510E6MAY 302482E7MAY Y03030487MAY Y03027527MAY Y03013518MAY 03002328MAY 03023789MAY Y0306035