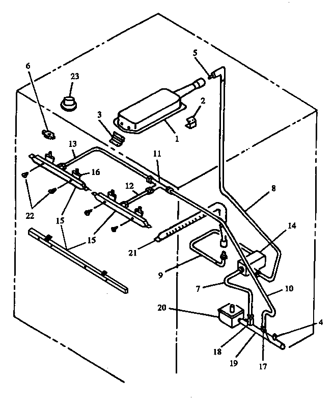
RST307F043 01 – GAS COMPONENTS