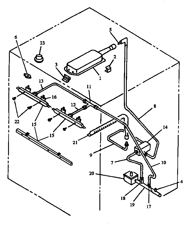
RST307UWW 01 – GAS COMPONENTSadmin2025-04-26T08:49:18+00:00RST307UWW 01 – GAS COMPONENTS ProductsPositionProductNIMAY Y627601MAY 606912MAY Y03031122MAY 637853MAY Y606874MAY 00424155MAY Y630605MAY Y630616MAY Y03005217MAY Y03006848MAY Y03006879MAY Y030068510MAY Y030463010MAY Y030126811MAY 6146713MAY Y009076114MAY Y030066415MAY 030062916MAY Y030275216MAY Y030135117MAY Y030126318MAY Y030136119MAY 030047920MAY Y6368421MAY 6370922MAY Y5611523MAY 030070623MAY Y030070523MAY 0300707