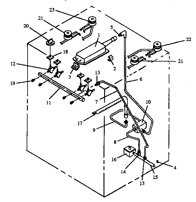
RST378UWG 02 – GAS COMPONENTSadmin2025-04-26T08:49:15+00:00RST378UWG 02 – GAS COMPONENTS ProductsPositionProduct1MAY Y00606912MAY 00637853MAY Y00606874MAY 00424155MAY Y00630605MAY Y00630616MAY Y03006877MAY Y03032208MAY Y03006849MAY Y030068510MAY Y030066411MAY 030324812MAY Y030456912MAY 030456813MAY Y030321914MAY Y030136115MAY 030324716MAY Y006368417MAY Y006370918MAY Y030052119MAY Y005611520MAY 030070620MAY 030070720MAY Y030458020MAY Y0300705