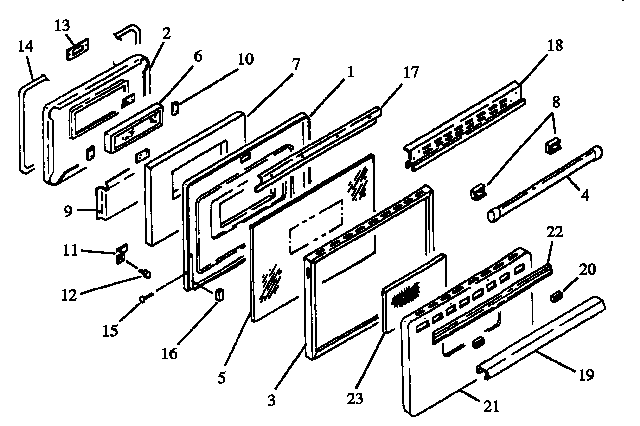
RST378UWG 06 – OVEN DOORadmin2025-04-26T08:49:17+00:00RST378UWG 06 – OVEN DOOR ProductsPositionProductNIMAY Y0097886NIMAY Y0059445NIMAY 0059574NIMAY Y00716421MAY 302725CG2MAY 58808CG3MAY 301506W3MAY 304465L3MAY Y03024444MAY 304417L4MAY 303774W4MAY 03044925MAY 03044645MAY Y03024466MAY 00414916MAY 03048317MAY Y00419668MAY 03041228MAY 03024479MAY 301275W10MAY Y005262911MAY Y006243912MAY Y006366113MAY Y005203914MAY Y030043215MAY Y030264816MAY Y006024718MAY 030244818MAY 030337118MAY 0304466