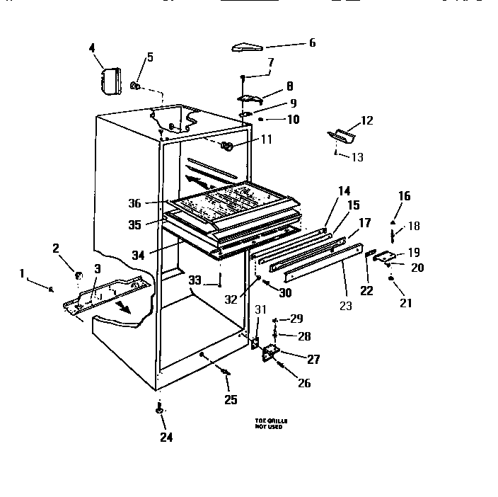
| 2 | WCI R900703 |
| 3 | WCI R900702 |
| 4 | WCI R900675 |
| 5 | WCI R900676 |
| 6 | COVER, TOP HINGE, ALMOND |
| 8 | BRACKET, TOP HINGE |
| 9 | WCI R900678 |
| 10 | WCI R900679 |
| 11 | WCI R900680 |
| 12 | WCI R900681 |
| 13 | WCI Q414002 |
| 14 | WCI R900683 |
| 15 | WCI R900684 |
| 16 | WCI R900682 |
| 17 | WCI R900689 |
| 18 | WCI G142220 |
| 19 | WCI R9000695 |
| 23 | WCI R900686 |
| 24 | WCI F152836 |
| 25 | WCI R900699 |
| 26 | 241710601 Frigidaire Refrigerator Screw |
| 27 | WCI R900697 |
| 28 | 5303001321 Frigidaire Refrigerator Lower Hinge Pin |
| 29 | WCI R900696 |
| 30 | SCREW, MULLION MOUNTING (2) |
| 31 | WCI G900598 |
| 32 | WCI R900799 |
| 33 | WCI R900701 |
| 34 | WCI R900693 |
| 35 | WCI R900692 |
| 36 | WCI R900691 |