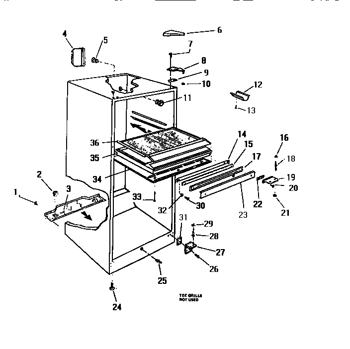
RT114GLH5 04 – CABINET