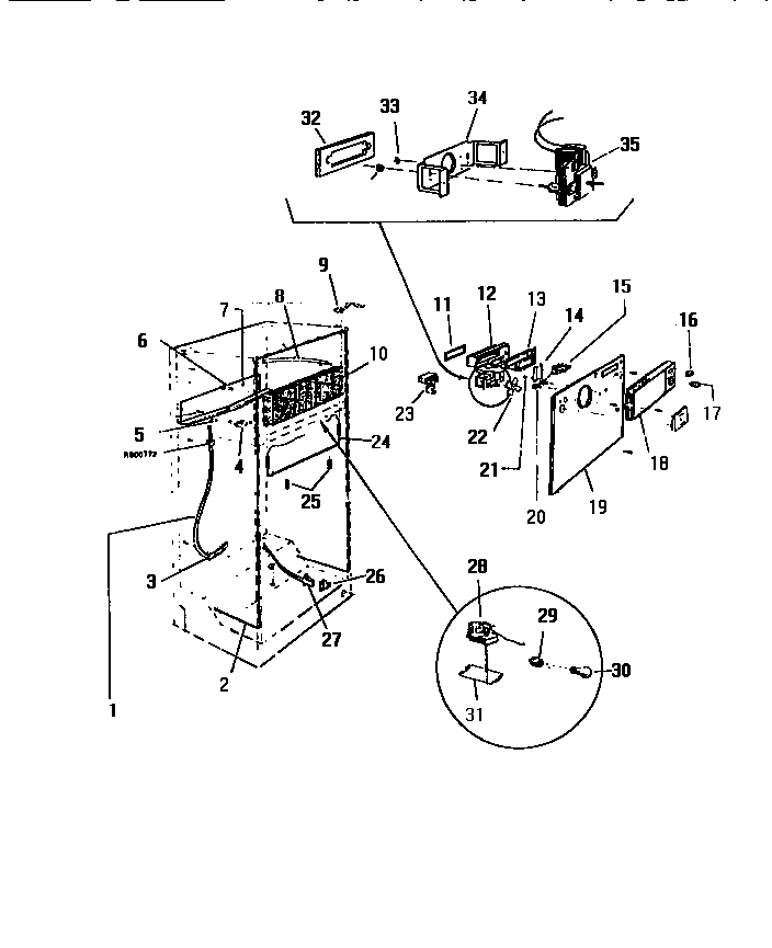
RT114GLW5 05 – COOLING SYSTEMadmin2025-04-26T08:43:55+00:00RT114GLW5 05 – COOLING SYSTEM ProductsPositionProduct1BWCI R20011282WCI R9007693WCI R9007764WCI R9007475WCI G1030786WCI R9007747WCI R9007488WCI R9007519WCI R90074910WCI R90076011WCI R90075012WCI R90075213WCI R90075314WCI R90075415WCI R90075516WCI R90075717WCI R90076118WCI R90075619WCI R90076220WCI R900763215304455650 Frigidaire Refrigerator Screw22WCI R90075823WCI R90075924WCI R90076825WCI R90076726WCI R90080027AWCI R90077127WCI R90077028WCI R90076429WCI R90076530WCI Q6374931WCI R90076632WCI R90074233WCI R90074334WCI R900744