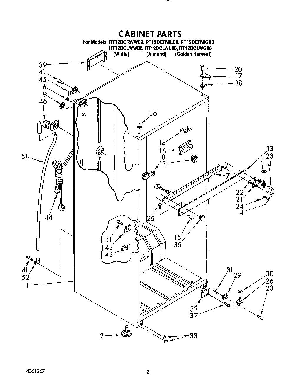
RT12DCLWL00 02 – CABINET