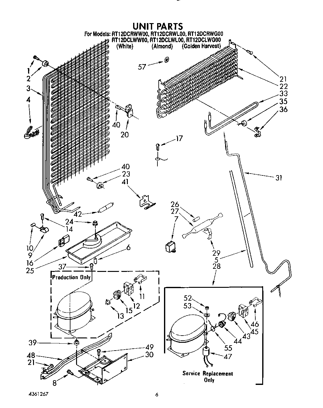
RT12DCRWG00 05 – UNIT