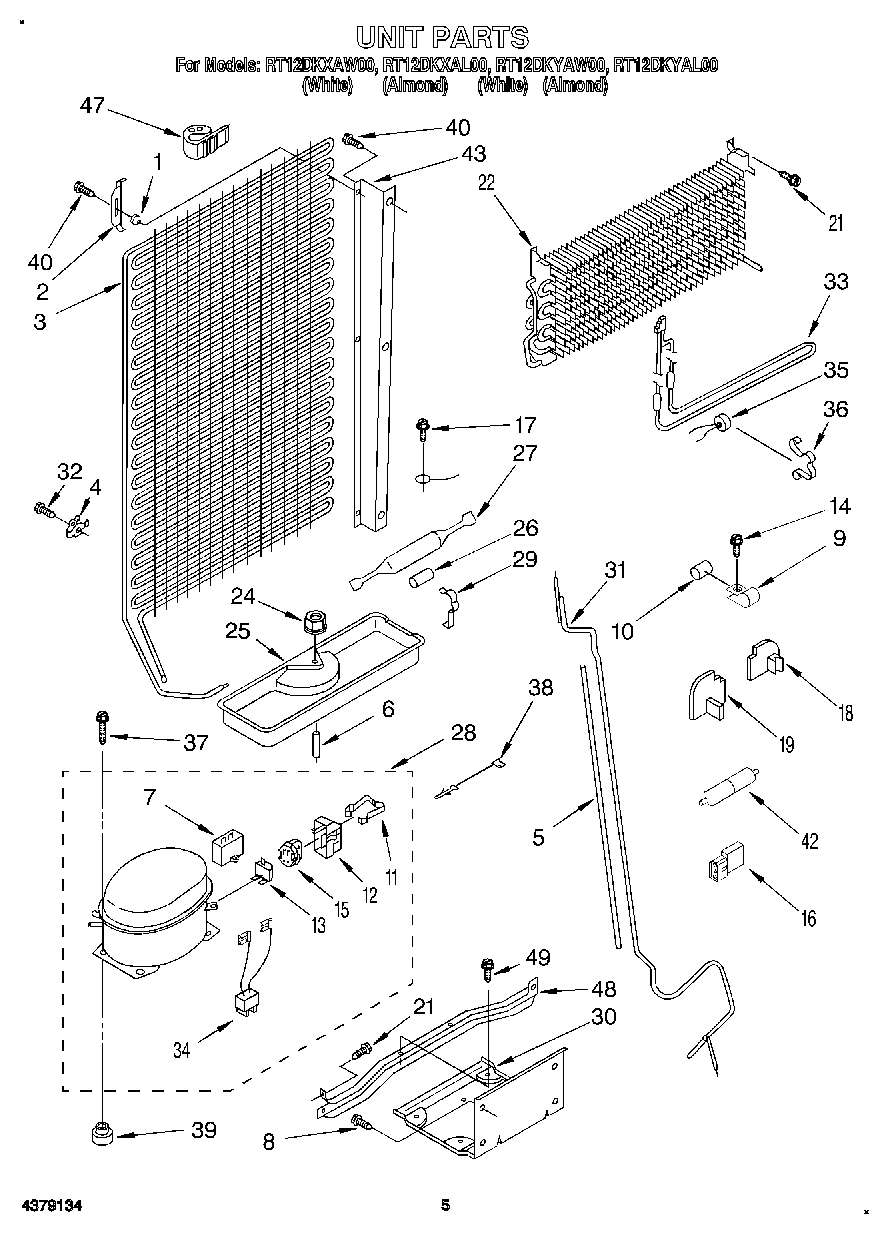
RT12DKXAL00 04 – UNIT

RT12DKXAL00 04 – UNIT