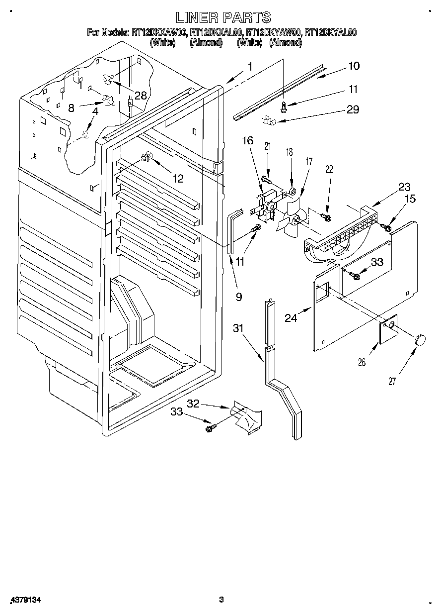
RT12DKXAW00 02 – LINER