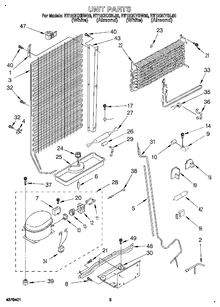
| 1 | Bracket |
| 2 | Tube Extension Assembly |
| 3 | Condenser Assembly |
| 4 | Clip, Tube (4) |
| 5 | WP2002171 Whirlpool Refrigerator Sleeve |
| 6 | Spacer |
| 7 | WPW10662129 Whirlpool Refrigerator Run Capacitor |
| 8 | WP250830 Whirlpool Refrigerator Screw |
| 9 | Clamp Tube |
| 10 | Dampener |
| 11 | Strap |
| 12 | Cover |
| 13 | Overload (Includes Relay) |
| 13 | Overload |
| 14 | WPW10141625 Whirlpool Refrigerator Screw Assembly |
| 15 | Relay (See Overload) |
| 16 | WP717253 Whirlpool Dishwasher Connector |
| 17 | 303776 Whirlpool Dishwasher Screw |
| 18 | Side Block, Right Evaporator |
| 19 | Side Block, Left Evaporator |
| 20 | W11693756 Whirlpool Screw Assembly |
| 21 | 489340 Whirlpool Refrigerator Screw |
| 22 | Evaporator |
| 23 | Retainer, Evaporator |
| 24 | 285002 Whirlpool Nut |
| 25 | Tray, Evaporator |
| 26 | Restrictor Sleeve |
| 27 | W10843121 Whirlpool Refrigerator Tube |
| 28 | Compressor |
| 28 | 876765 Whirlpool Primary Mounting Kit Refrigerator |
| 28 | Installation Kit |
| 29 | Clamp, Dryer |
| 30 | Unit Mounting Plate |
| 31 | Exchanger, Heat |
| 33 | Heater, Defrost |
| 34 | WP2172890 Whirlpool Refrigerator Wire |
| 35 | Bi-Metal, Defrost |
| 36 | Clamp |
| 38 | Overload Wiring (White) |
| 38 | Overload Wiring (Red) |
| 39 | 876811 Whirlpool Grommet |
| 40 | WP489478 Whirlpool Refrigerator Screw |
| 42 | Muffler |
| 43 | Channel, Condenser (Left) |
| 43 | Channel, Condenser (Right) |
| 47 | Bumper (2) |
| 48 | Unit Mounting Rail |
| 49 | VALVE, ACCESS (5/8``) |
| 49 | 978027 Whirlpool Refrigerator Primary Valve |
| 49 | 978030 Whirlpool Refrigerator Valve |
| 49 | WP978025 Whirlpool Refrigerator Valve |
| 49 | 876764 Whirlpool Refrigerator Primary Valve |
| 49 | WP965173 Whirlpool Dishwasher Screw |
| 49 | VALVE, ACCESS (1/2``) |
| 49 | 978026 Whirlpool Refrigerator Primary Valve |