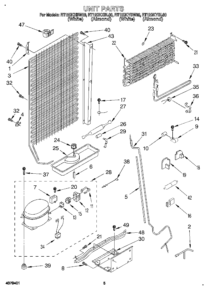
RT12DKXBW00 04 – UNIT

RT12DKXBW00 04 – UNIT