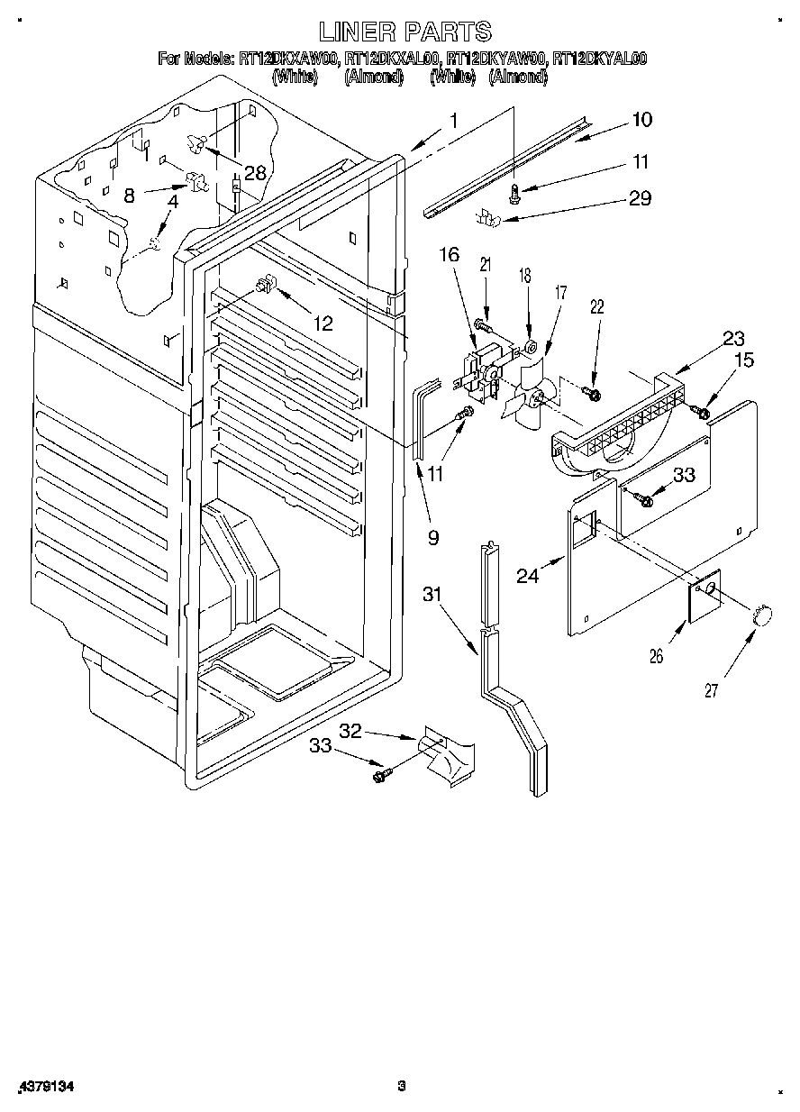
RT12DKYAL00 02 – LINER