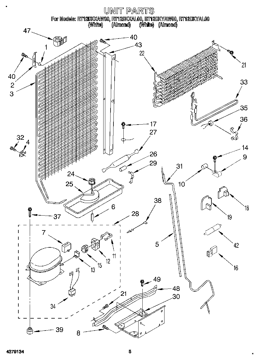
RT12DKYAW00 04 – UNIT

RT12DKYAW00 04 – UNIT