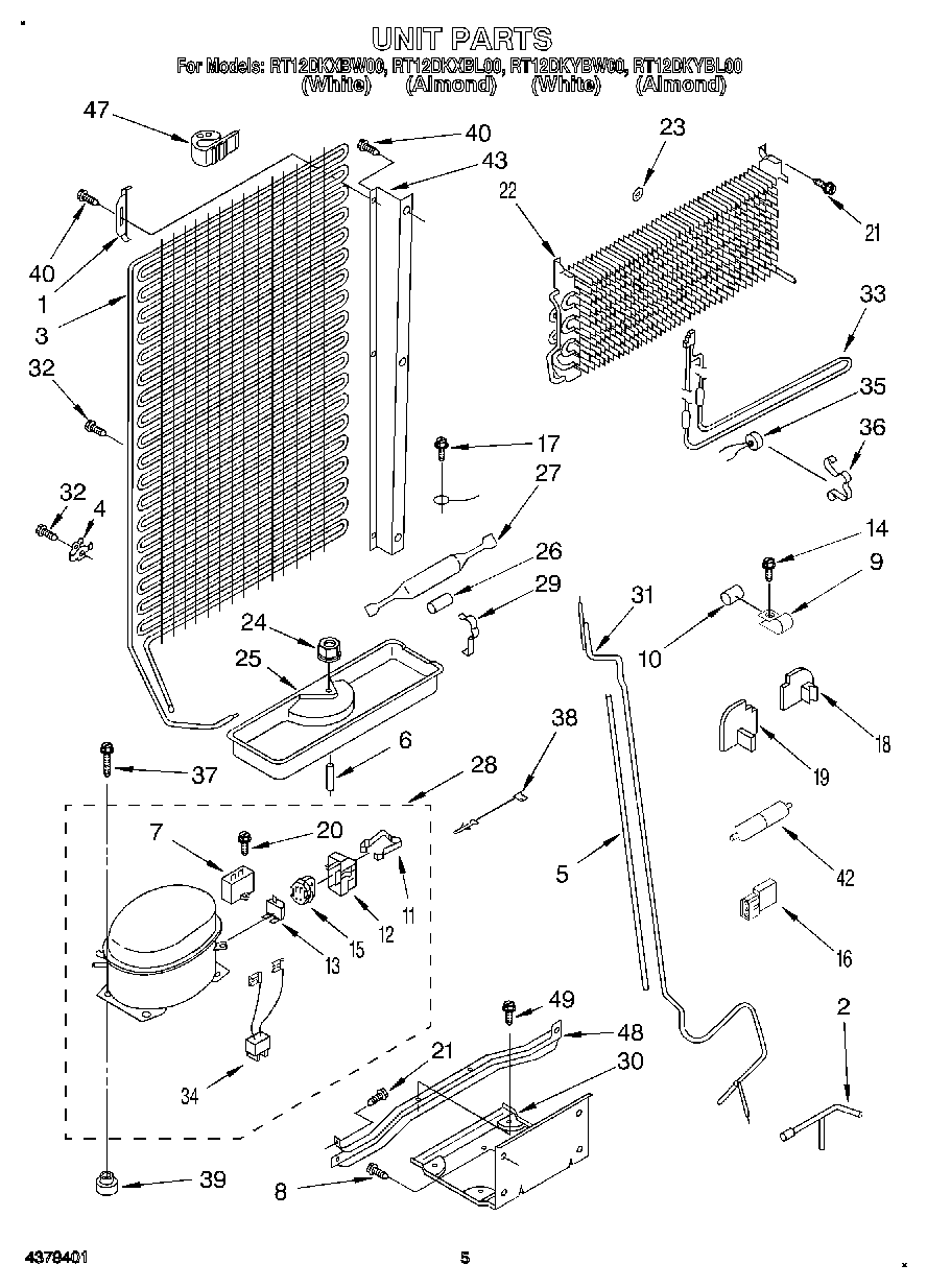
RT12DKYBW00 04 – UNIT

RT12DKYBW00 04 – UNIT