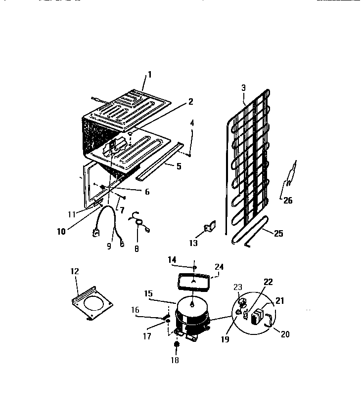
RT142GCF4 04 – COOLING SYSTEMSadmin2025-04-26T08:44:33+00:00RT142GCF4 04 – COOLING SYSTEMS ProductsPositionProduct*63286WCI G176210*63287WCI G1672341WCI G1875933WCI G1725115WCI G162980-016WCI G1648547SCREW (5)8CORD, SERVICE9WCI G186467105304455650 Frigidaire Refrigerator Screw11WCI G17849712WCI G16282213BRACKET-CONDENSER MOUNTING (4)14NUT, LOCK15WCI G62009816CLIP, COMPRESSOR MOUNTING (4)17WASHER, COMPRESSOR MOUNTING (4)18218513300 Frigidaire Refrigerator Compressor Mount Grommet19WCI G166094205303006412 Frigidaire Refrigerator Cover Mounting Strap22CLIP, OVERLOAD23WCI G150618-1124DEFROST PAN25WCI C71420326AWCI R90012526DRIER-REGULAR