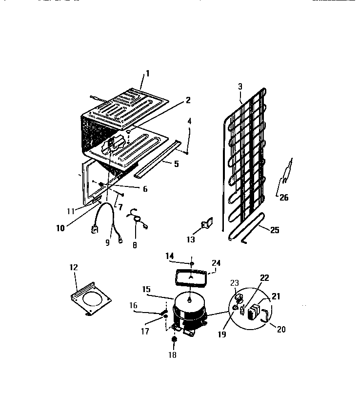
RT142GCW3 04 – COOLING SYSTEMSadmin2025-04-26T08:44:11+00:00RT142GCW3 04 – COOLING SYSTEMS ProductsPositionProduct*63287WCI G167234*63286WCI G1762101WCI G1633943WCI G1725115WCI G162980-016WCI G1648547SCREW (5)8CORD, SERVICE9WCI G162743105304455650 Frigidaire Refrigerator Screw11WCI G17849712WCI G16282213BRACKET-CONDENSER MOUNTING (4)14NUT, LOCK15WCI G62009816CLIP, COMPRESSOR MOUNTING (4)17WASHER, COMPRESSOR MOUNTING (4)18218513300 Frigidaire Refrigerator Compressor Mount Grommet19WCI G17743520CLAMP, COVER21COVER, TEMPERATURE22CLIP, OVERLOAD23WCI G17743424DEFROST PAN25WCI C71420326DRIER-REGULAR26AWCI R900125