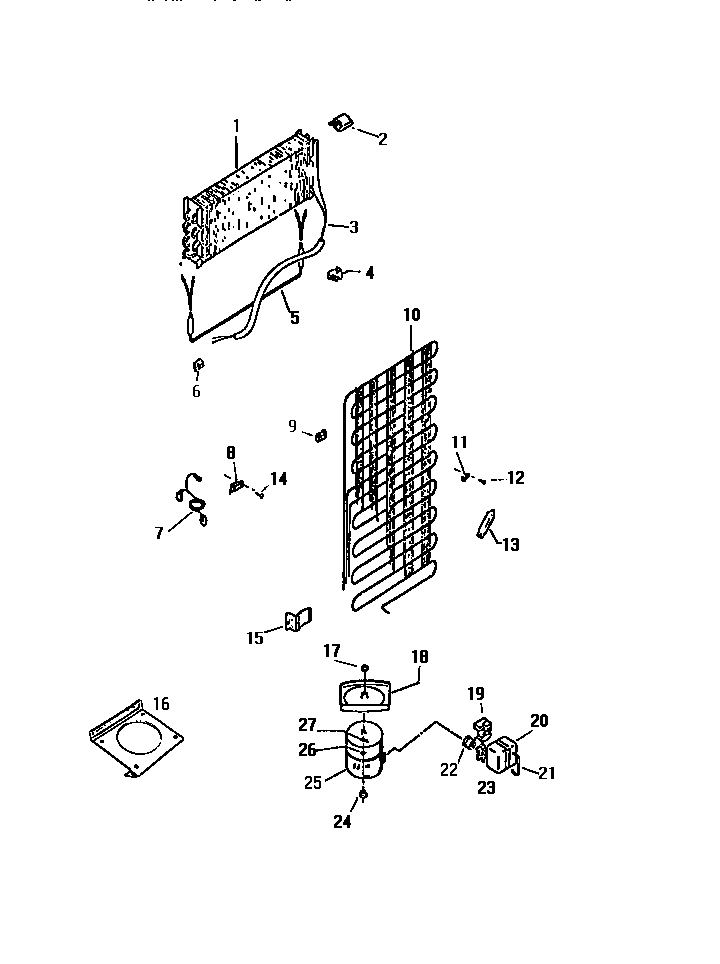
RT146GCF2 04 – COOLING SYSTEMadmin2025-04-26T08:47:27+00:00RT146GCF2 04 – COOLING SYSTEM ProductsPositionProduct1WCI G16273625303917954 Frigidaire Refrigerator Defrost Limit Thermostat Kit3WCI G1633894WCI G1632155WCI G162432-026BLOCK, EVAPORATOR, LH7CORD, SERVICE85303001199 Frigidaire Refrigerator Wiring Harness Clamp9WCI G16512910WCI G17251111WCI G10174712218843801 Frigidaire Refrigerator Screw13AWCI R90012513DRIER-REGULAR14WCI G17108515BRACKET-CONDENSER MOUNTING (4)16WCI G16282217NUT, LOCK18DEFROST PAN19WCI G182225-1220WCI G18579221STRAP-COVER22WCI G18579724218513300 Frigidaire Refrigerator Compressor Mount Grommet25COMPRESSOR W/ELECT.26WASHER, COMPRESSOR MOUNTING (4)27CLIP, COMPRESSOR MOUNTING (4)