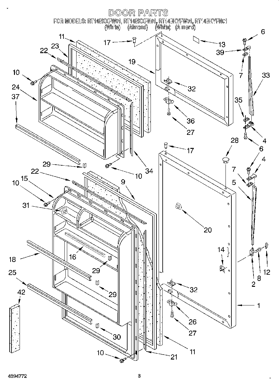
RT14BKXFW01 02 – DOOR